Cars + Trucks 57 mins ago General Motors reveals autonomous car with no steering wheel General Motors is looking to reinvent the wheel, by getting rid of the steering wheel.
Cars + Trucks 57 mins ago GM pickups to offer carbon fiber beds, report says General Motors is reportedly taking a radical approach to reducing the weight of its next-generation pickups.
Cars + Trucks 57 mins ago GM to launch self-driving vehicles in big US cities in 2019 General Motors Co. expects to carry passengers and deliver goods with self-driving vehicles in big cities sometime in 2019, telling investors it's moving quickly and plans to be ahead of other automakers and tech companies.
Cars + Trucks 57 mins ago General Motors' next electric car may have been revealed Tesla may be dazzling the world with visions of speedy sports cars and semi-trucks, but it wasn’t the only automaker to offer a glimpse of its future this week.
Cars + Trucks 57 mins ago GM says next-gen electric cars will cost less, go farther General Motors is telling investors its next generation of electric vehicles will cost the company 30 percent less than current ones, making them profitable after the new version debuts in 2021.
Cars + Trucks 57 mins ago Car production ends in Australia with last General Motors model built The last car has been built in Australia.
Cars + Trucks 57 mins ago Australian car making to end soon with GM plant closing The Australian auto manufacturing era is about to end after more than 90 years when General Motors Co.'s last Holden sedan rolls off the production line in the industrial city of Adelaide on Friday.
Cars + Trucks 57 mins ago Autonomous cars head for the Big Apple Autonomous vehicles are already navigating the verdant hills of Pittsburgh and cruising the pitched avenues of San Francisco.
Cars + Trucks 57 mins ago GM developing stealthy self-driving hydrogen-powered cargo truck with military in mind General Motors is developing a self-driving pack animal.
Cars + Trucks 57 mins ago Tesla's autonomous car claim is 'full of crap', says General Motors expert Car giant General Motors has slammed tech start-up Tesla for planning to release autonomous vehicle technology before it’s ready.
Cars + Trucks 57 mins ago GM-based V12 engine now available for custom car builds Sure, you’ve got a V8 in your Chevy, but you could’ve had a V12.
Cars + Trucks 57 mins ago General Motors' next electric car coming in 2019 General Motors’ next-generation electric car could be on the road within two years.
Cars + Trucks 57 mins ago GM launches $5,300 electric car in China General Motors has introduced a new small electric car with a price to match.
Cars + Trucks 57 mins ago 2018 Chevrolet Equinox Diesel first drive: Ready for the long, if not heavy haul General Motors will soon offer 12 models powered by diesel engines in the United States, but don’t call them the dirty dozen.
Cars + Trucks 57 mins ago GM-owned Cruise Automation reveals production-ready self-driving car General Motors-owned Cruise Automation has revealed what it claims is the first mass-producible car capable of driving itself.
Cars + Trucks 57 mins ago Lawsuit alleges GM cheated on diesel pickup truck emissions Shares of General Motors fell about 2.5 percent Thursday afternoon after some truck owners alleged in a lawsuit that the company cheated on government diesel emissions tests.
Cars + Trucks 57 mins ago Firebird Trans Am doppelganger is a Dodge Demon destroyer This year marks the 50th anniversary of the Pontiac Firebird, so some of you must be totally bummed that you can’t buy a new one anymore.
Cars + Trucks 57 mins ago General Motors in talks with Peugeot's parent company about Opel sale General Motors is considering the sale of its European Opel and Vauxhaul brands to PSA Group, the parent company of Peugeot and Citroen.
Cars + Trucks 57 mins ago What's that secret mid-engine sports car GM is testing in the snow? General Motors is in the middle of working on…something.
Cars + Trucks 57 mins ago GM, Honda team up to develop advanced hydrogen fuel cells Could be on the road, and in the air by 2020.
Cars + Trucks 57 mins ago Is GM telling the truth about its cars? Mexican-made Cruze sedans found at U.S. dealerships Said only hatchbacks were being imported.
Cars + Trucks 57 mins ago Ford's planning a hybrid pickup, but GM already makes one Ford announced this week that it will start selling a hybrid F-150 in 2020, but if you want a battery-powered pickup before that, General Motors will be happy to sell you one today.
Cars + Trucks 57 mins ago GM begins testing autonomous cars on Michigan public roads General Motors has started testing fully autonomous vehicles on public roads around its technical center in suburban Detroit.
Cars + Trucks 57 mins ago General Motors brings IBM's Watson into its vehicles General Motors Co. is enlisting digital smarts from International Business MachinesCorp.’s
Cars + Trucks 57 mins ago Chevy reveals stealth truck secrets in time lapse video build Chevrolet’s new ZH2 prototype was built for the military’s most secret missions.
Cars + Trucks 57 mins ago GM offers debit cards or longer warranties in mileage case For most people, the compensation will be worth $450 to $900.
Cars + Trucks 57 mins ago Fullsize GM SUVs have a problem that's making owners sick The fix isn't so simple.Â
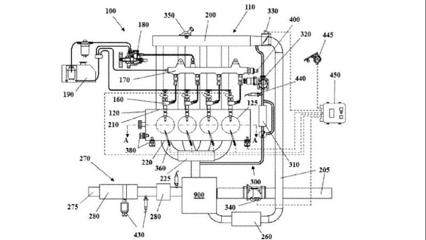
Cars + Trucks 57 mins ago GM patent reveals new two-stage turbocharger Two turbos together, but not the same.
Cars + Trucks 57 mins ago GM, Lyft to Test Self-Driving Electric Taxis Details of the autonomous-taxi testing program are still being worked out.
Cars + Trucks 57 mins ago GM to recall over 1 million pickups to fix seat belt problem The company has told dealers not to sell about 3,000 new 2014 and 2015 trucks until the cables are repaired.Â